
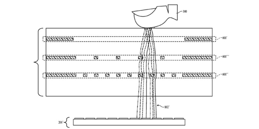
Un brevet fraîchement publié par Apple présente une technologie permettant une reconnaissance digitale sur tout l’écran d’un iPhone. Cette technologie pourrait servir à intégrer le Touch ID à l’écran de l’iPhone 8 de 2017.
La technologie décrite par ce brevet repose sur les différences de champs électromagnétiques des creux des empreintes digitales. Grâce à ce principe, le Touch ID pourrait être directement intégré à l’écran.
Une technologie intégrée à l’iPhone 8 ?
Il serait alors possible de déverrouiller l’écran en posant son doigt à n’importe quel endroit de l’écran. Cette technologie révolutionnaire pourrait être incorporée à l’iPhone 8 de 2017…
Pensez-vous que cette technologie sera présente sur l’iPhone 8 ?
3 commentaires
Comme déjà dit dans un autre article , faudra(it) gérer l’appui sur l’écran par inadvertance pour éviter les déverrouillages inopinés..
Tkt pas pour ils vont très bien géré ça
D’après ce que je comprend c 4 niveau de pression ?