
Avec l’iPhone X sorti en 2017, Apple a chanté les louanges de Face ID, son système de déverrouillage par reconnaissance faciale. Pourtant, il semblerait que le Californien n’ait pas totalement délaissé Touch ID, son système de déverrouillage par reconnaissance d’empreintes digitales.
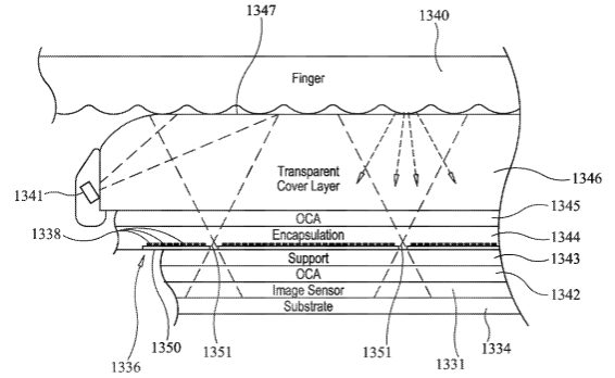
Ainsi, un nouveau brevet, publié le 23 mai 2016 – soit une année avant la présentation de l’iPhone X, a fait son apparition il y a quelques jours. Ce brevet montre un système comportant des petits trous dans l’écran qui permet d’engendrer le capteur d’empreintes digitales. Ces petits trous seront donc capables de diriger la lumière vers le doigt de l’utilisateur et ainsi créer une image optique du doigt de ce dernier pour ensuite développer une empreinte digitale.

Avant la sortie de l’iPhone X, plusieurs rumeurs ont évoqué l’apparition de Touch ID sous l’écran. Toutefois, après la présentation de l’iPhone X, Apple a déclaré qu’il ne voulait plus garder Touch ID (cf. iPhone X : Apple n’a jamais voulu garder le Touch ID) ; à voir maintenant si le Californien va nous mijoter un iPhone équipé de capteurs d’empreintes sous l’écran. Parfois on est tous amenés à changer nos idées, non ?
Lire aussi : Apple persiste et signe : Touch ID n’a jamais été prévu sur l’iPhone X
3 commentaires
Il existe emmena avec Samsung
J’ai vu sur un huawei, super rapide donc pourquoi pas
Génial comme ça ils augmenteront encore plus les tarifs!😂😂😂😂😂😂