Un nouveau brevet découvert par AppleInsider fait mention d’un iPhone entouré d’un écran souple AMOLED et protégé par une coque en verre.
La description du brevet présente un dispositif qui serait enroulé d’un écran souple AMOLED très proche du design des iPod anciennes génération.
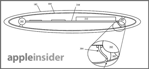
L’écran AMOLED serait déployé dans un tube de verre, qui, comme l’explique le brevet, est la clé de l’équipement de communications sans fil interne.
Étant donné que l’écran serait tout autour du mobile, un détecteur d’utilisation est nécessaire pour connaitre le sens dans lequel est utilisé le dispositif. Pour résoudre le problème, l’invention applique une méthode de reconnaissance faciale grâce à des caméras embarquées qui suivent l’utilisateur et déterminent leur champ de vision approximatif.
Enfin, le dispositif peut comporter plusieurs écrans transparents qui se recouvrent les uns sur les autres, en collaboration pour présenter un contenu. Par exemple, un écran peut afficher le même contenu qu’un deuxième écran, mais légèrement décalé pour donner l’illusion de l’imagerie 3D. Dans un autre exemple, le deuxième écran peut tout simplement présenter un ensemble d’éléments visuels différents du premier.

Nous avons ici la confirmation que Apple fait des recherches sur des dispositifs à écran souple. Cependant, rien ne nous indique quand est-ce que ces dispositifs seront disponibles au grand public.
Il faudra certainement patienter encore quelques années…


17 commentaires
Pas mal
Peut être la future révolution? Il ferait mieux de faire vite, avant de perdre encore des parts de marché.
Je ne pense pas qu’Apple ait perdu en part de marché (attention à la désinformation insidieuse…) même si effectivement son coût en bourse à diminué sensiblement après avoir sérieusement fait des bons historique.
Ne mélangeons pas tout…
C’est l’ancien chargeur quand même, pas le lightning x) c’est vieux comme plans non?
Tous les brevets auxquels vous avez déjà parlé sur ce site n’ont jamais été dans un iPhone. Même la NFC n’a pas ete integré encore.
On retrouve très rarement l’intégralité d’un brevet dans un produit final. C’est de la recherche et du développement, il s’agit plus mettre au point des petites fonctions pour en développer d’autres plus importantes. Ça nous permet simplement d’avoir une idée de la « trajectoire » prise par Apple pour ses futurs produits grand public !!!
Intérêt ? Aucun.
vachement pratique pour glisser son doigt en plus.
… et on le pose de quel côté ?
Pas mal du tout
ca demonte!! je veux un ecran qui fait tout le tour du tel! bizarrement les autre sortirons un truc identique mais… sans copier lol
Des traces de doigts partout… la crainte de le voir rayé ou pire: de le voir tomber !
L’idée ne m’enchante guère.
tu verrai mon iphone tu croirait pas que ca fait 2 ans qu’il va dans ma poche avec clef, monnaie etc… leur ecran est difficile a rayer, s’il est souple bah encore moin rayable…
le multitache sur l’ecran arriere je veut ça moi, youtube devant facebook derriere… ok je sort…
Pas pratique pour ceux qui l’utilisent pour le jeu/film de poche, sinon ça a l’air sympa.
À voir, j’opte plus pour les iPod Nano ou un nouvel iPod (entre le Nano et le Touch) ou tout simplement pour bloquer les concurrents et empêcher l’apparition de ce type de produits.
Et pourquoi pas pouvoir déplier cette écran pour regarder des vidéo ou des photo (avec la partie solide à côté) bien sur c’est pas pour demain mais se serait cool ;)
tu rigole mais sony ont faillit le faire pour la ps vita donc possible…
http://www.mac4ever.com/actu/78700_brevet-apple-un-ecran-qui-s-enroule-dans-un-boitier-transparent
Bien plus complet et détaillé ici ;)