Nous découvrons aujourd’hui un nouveau brevet d’Apple qui concerne l’assistant personnel présent dans iOS : Siri.
Apple penserait à un dock pour nos appareils qui rendrait Siri accessible à tous instants.
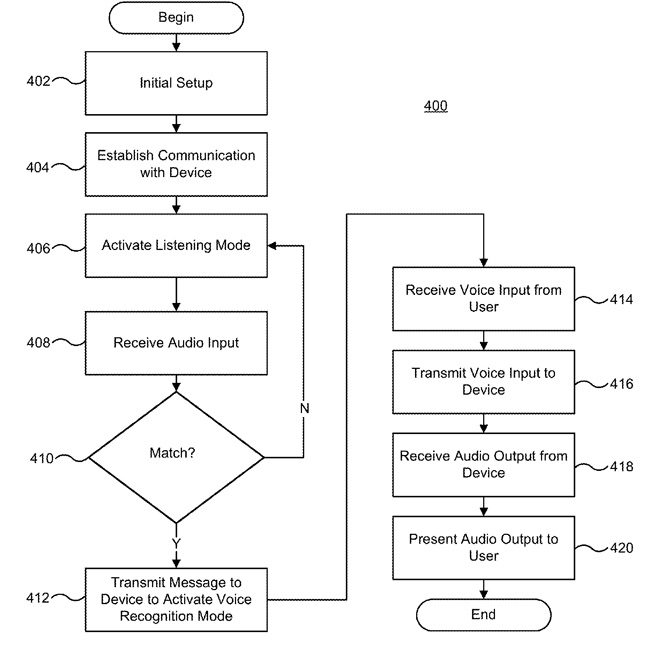
En effet, une fois l’appareil connecté à ce dock, Siri serait alors en mesure d’écouter toutes vos demandes sans que vous n’ayez besoin de toucher à l’appareil connecté.
Le dock serait donc équipé d’un micro capable de détecter une phrase servant à activer Siri. Contrairement au « OK Google » de certains appareils sous Android, ce message sera personnalisable par l’utilisateur.
Le dock sera bien évidement capable de réduire le bruit ambiant lors des phases d’écoutes afin de se concentrer sur les demandes de son utilisateur. Après avoir transmis la demande à l’appareil, il réceptionnerait la réponse pour la diffuser via ses haut-parleurs.
Le brevet indique une compatibilité avec n’importe lequel des appareils iOS disposant de Siri.
Seriez-vous intéressé par cet accessoire ?


16 commentaires
Micro activé 24/24 c’est bon pour la NSA ça…
BIG BROTHER A LA MAISON ^^
C’est pas mal si le dock ne coute pas le prix d’un iPad.
Si vous voyez ce que je veux dire…
Perso… aussi inutile que Siri !!!
Et pourquoi pas une phrase d’activation avec ios7.1 ?
Je suis le seul a RIEN comprendre a tout ces schéma de brevet ??
Nan, mais c’est justement l’objectif :)
Le but du jeu est d’expliquer le plus abstractivement possible quelquechose de très précis. Comme ça, si jamais une personne l’interprete d’une autre manière … tu peux dire « ah ouais mais non j’ai mon brevet la dessus, hophophop ton porte-monnaie ». ;)
Merci de l’explication ;)
Connaissant apple on pourrait acheter une voiture au même prix…
Enfin !!! J’ai déjà un nom personnalisé en tête : Jarvis !
Moi oui !!! Avec un grand OUI !’nn
Oui et non
Oui parse que c plus facile d’utiliser mais main
Et non car il vont écoutée toute notre vie personnelle et savoir sur nous le moindre détail
Franchement je trouve ça très très intéressant au moins quand on est dans une soirée ^^, on se prend pas la tête a prendre le tel et changer de musique a chaque fois, je lui lance le titre de la chanson et bim :), mais bon il ne faut pas qu’il coûte 200e non plus.
Merci pour l’info les gars ;)
Genre quelqu’un ça écouter nos conversation, t’es pas un dealeur de coke t’as rien a craindre!
Mais effectivement le prix sera la variable de décision a ne pas négliger.
Qu’est ce que t’en sais si je suis un dealer de coke ou pas ? :p
Plus sérieusement, c’est pas une question d’avoir quelque chose a se reprocher, mais une question de vie privée…
J’ai pas envie qu’il sache quand je fais des coquinerie avec ma copine, j’ai pas envie qu’ils savent que j’ai un chat pour recevoir des spams sur les chats, j’ai pas envie qu’il connaissent le nom de mon père etc…
Qu’ils, qu’ils , pourquoi tu veux que les gens espionnent ta vie. Le micro est en arrière plan à attendre ta phrase d’appel SIRI, une fois celle ci prononcée la t’es écouté par les serveurs, mais pas avant. Donc ta vie privée, le nom de ton chat de ton père et tes ébats sexuels ne seront pas diffusés! ( a moins d’appeler Siri pendant un ébat sexuel ^^)
Ça c’est une bonne idée !!