Le United States Patent & Trademark Office vient de publier un nouveau rapport sur un brevet d’Apple qui décrit un système révolutionnaire pour sécuriser nos dispositifs intelligents. Il s’agit d’un système qui pourrait ajuster automatiquement les paramètres de sécurité, ou d’autres paramètres, d’un dispositif intelligent en se basant sur sa localisation, les biocapteurs et les habitudes de son utilisateur.
Si le brevet en question a été originellement déposé par Apple depuis Décembre 2012, les fonctionnalités qu’il décrit ne sont pas encore présentes sur iOS, et pourraient bien permettre à Apple de faire un pas de géant dans l’intégration des produits de domotique HomeKit dans iOS 8.
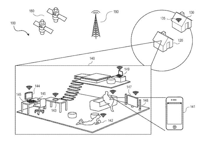
L’essentiel du brevet porte sur l’ajustement automatique des réglages d’un dispositif en fonction de l’endroit où il se trouve et ce, en se basant sur des données recueillies pendant l’utilisation des empreintes rétiniennes, ADN, empreintes digitales ou d’autres biocapteurs intégré à l’appareil. Tout cela devrait permettre d’accroître le niveau de sécurité des iPhone par exemple et de les rendre encore plus intelligents.
Imaginez que les exigences de saisie du code de déverrouillage de votre téléphone changent en fonction de l’endroit où vous vous trouvez.
Votre iPhone pourrait par exemple ne pas vous demander un mot de passe s’il détecte que vous êtes dans un endroit correspondant à votre domicile.
Le brevet décrit beaucoup d’autres choses intéressantes que vous pourrez découvrir ici.
Pensez-vous qu’un tel système ait une chance de voir le jour très prochainement ?

6 commentaires
Un tweak cydia permet déjà d’outre passer le passcode quand on est sur tel ou tel réseau wifi.
c’est CleverPin ?
J’ai du mal a me dire qu’apple va révolutionner la maison ; mais avec eux, il faut s’attendre a tout !
Ça serait tellement bien *_*
Wait ans see!
Pas mal, mais va falloir attendre comme toujours !..