
Selon Ray Soneira de DisplayMate, le futur iPhone de 5,8 pouces pourrait être pourvu d’un écran OLED pliable. Plusieurs brevets déposés par Apple laissent envisager cette hypothèse.
Le site taïwanais DigiTimes révélait hier qu’Apple prépare probablement un iPhone 8 doté d’un écran AMOLED 5,8 pouces pour 2018 (cf. Apple prépare un iPhone 5,8 pouces avec écran AMOLED !). Cette taille peut sembler démesurée, mais Ray Soneira de DisplayMate a une explication.
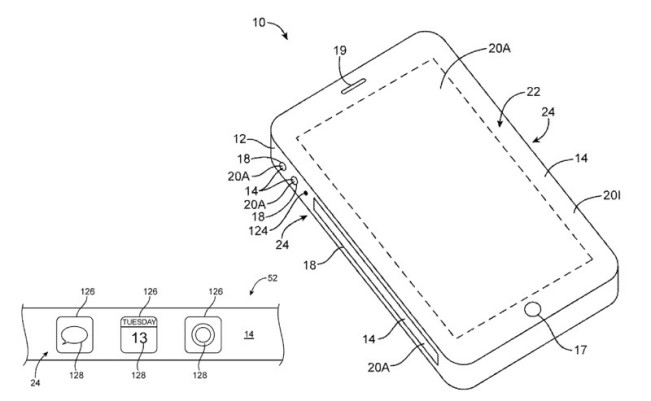
Un écran enroulé

En se fiant à d’anciens brevets, on peut envisager que la Pomme utilise les propriétés flexibles de l’AMOLED pour proposer un écran enroulé. Les bords déborderaient donc sur les tranches de l’appareil à l’instar des Galaxy Edge de Samsung. D’après le brevet, les boutons physiques seraient remplacés par des boutons virtuels situés sur ces rebords. L’iPhone conserverait donc la même taille, mais son écran gagnerait 0,3 pouces par rapport à l’iPhone 6s Plus en s’étendant sur les côtés.
Que pensez-vous de ce format ?
3 commentaires
Enfaite sa va devant un Samsung le truc
Copitage sur Samsung….
On s’en fout!!!
Info infondée…