
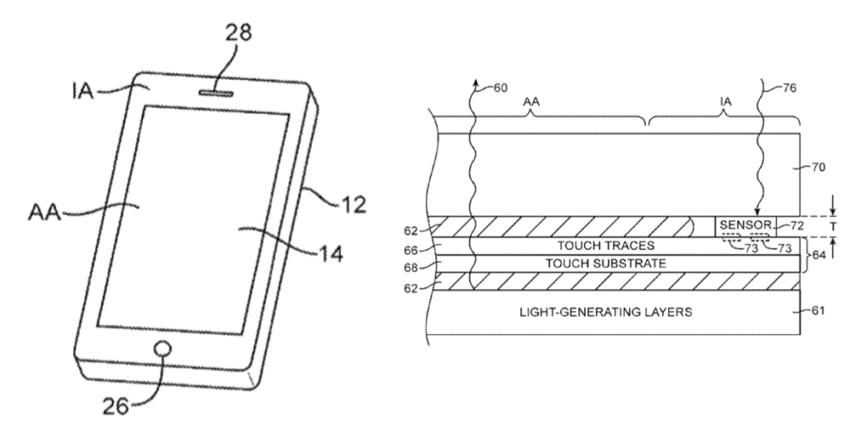
Un brevet récemment déposé par Apple présente un iPhone dont le capteur de lumière est intégré à l’écran. Ce système pourrait être utilisé pour le futur iPhone 8 de 2017.
Selon la rumeur, l’iPhone 8, attendu pour 2017, serait doté d’un écran dépourvu de bordures. Par conséquent, la Pomme doit trouver une solution pour intégrer à l’écran la technologie qui se trouve actuellement à l’extérieur. La semaine dernière, nous découvrions un concept de Touch ID intégré à l’écran (cf. iPhone 8 : Touch ID intégré sur tout l’écran ?). Cette fois, un nouveau brevet présente un capteur de lumière intégré à l’écran.
Un capteur disposé juste à côté de l’écran de l’iPhone 8
Ce brevet permettrait d’intégrer le capteur de lumière à un écran OLED ou LCD. Pour être exact, le capteur ne serait pas incorporé à la partie active de l’écran, mais juste à côté de sorte qu’il serait visuellement impossible à distinguer. Actuellement, ce capteur est disposé sur l’espace libre laissé par l’écran sur les côtés ou aux extrémités inférieures et supérieures, ce qui résulte par une taille et un poids supérieur et augmente même l’épaisseur de l’écran inutilement.
Pensez-vous que ce brevet sera utilisé pour l’iPhone 8 de 2017 ?
2 commentaires
Mais pourquoi il font pas comme avec l’Apple watch, derrière l’écran ?
Moi j’arrête d’écoute je prefere avoir koyote 2017 septembre pars que nous dis pliens truc. Ou disais iPhone Pro n’a pas euh