Un nouveau brevet découvert par appleinsider dévoile un appareil photo plénoptique (ou Light Field Camera) pour iPhone et iPad.
Le brevet décrit « Digital camera including refocusable imaging mode adaptor ». Autrement dit, l’utilisateur peut prendre une photo dans une certaine résolution qu’il pourra ensuite recentrer.
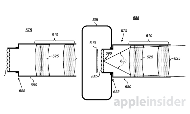
De plus, cet appareil utilise la technologie plénoptique aussi appelée Light Field Camera.
Le Lytro Light Field Camera vient chambouler les repères bien établis de la photographie. Reste à savoir si l’on reste dans le domaine de la photographie. L’appareil ne s’appuie pas sur un capteur classique, mais sur une matrice de microlentilles qui capturent la couleur, l’intensité, et la direction vectorielle des rayons lumineux. Technologie baptisée « light-field photography », littéralement photographie à champs de lumière et connue sous le nom de plénoptique, elle permet de photographier instantanément sans se soucier de la mise au point. Toutes les informations sont enregistrées et compilées sous la forme d’une représentation « 3D » de l’image dans un fichier. Un logiciel propriétaire développé par Lytro, et pour le moment uniquement disponible sur Mac (à partir de Mac OS X 10.6.6), permet alors de cliquer à n’importe quel endroit de l’image pour avoir la netteté sur ce point précis. La grandeur de la profondeur de champs autour de ce point dépend du coefficient de zoom utilisé (jusqu’à 8x).
Contrairement à Lytro, la conception d’Apple utilise un adaptateur mobile entre la lentille et le capteur d’image. Situé sur l’adaptateur est le réseau de microlentilles, ce qui signifie que l’appareil peut fonctionner en deux modes distincts: haute résolution «non-refocusable» et basse résolution refocusable.
C’est donc une nouvelle prouesse technologique qui pourrait arriver dans nos smartphones d’ici quelques années.


17 commentaires
La description est fausse, cette technologie permet de prendre une photo avec différente mise au point et non pas avec différente résolutions…
Effectivement, rien à voir avec la résolution. La profondeur de champ désigne la distance à laquelle se trouvent les objets apparaissant net (alors que ceux qui sont plus proches ou plus loin sont flous). En gros, avec cette techno, on peut choisir après avoir pris la photo sur quel objet faire le point.
Ce serait bien de corriger l’article…
App système vous commencez sérieusement a me saouler, car vous êtes même pas fichu de faire un article correct et par dessus tout VOUS ATTENDEZ QUOI POUR FAIRE UNE MISE A JOUR CAR ON PEUT PAS LIRE LES VIDÉOS EN PAYSAGE
IOS 7 EST SORTI DONC VOUS ATTENDEZ QUOI POUR REVOIR VOTRE APPLICATION !
J’ajoute qu’il manque toujours une version iPad…
Et ipad MINI !
@kikixatox +1
C’est vrai que pour un site qui se veut au coeur de l’actualité Apple, iOS…etc, c’est pas terrible de ne pas avoir mise à jour son app avec les API d’iOS 7 ! Ça va faire un moment qu’iOS est sorti !
+1 pour la vidéo en paysage et aussi ce p***** de clavier ios6 !!!
Pour en revenir au sujet, cela fait rêver ce procédé.
On parle a un mur laisser tomber
Nokia la déjà sorti avec son dernier lumia d’où l’appellation 41 mega pixels pour pouvoir zoomer n’importe ou sur la photo tout en restent complètement nette !!
ça n’a rien à voir. On ne parle pas d’avoir une meilleure définition, donc d’avoir une image moins pixellisée (ce n’est pas la même chose qu’une image moins floue), mais de changer de mise au point. Avec le Lumia, si tu as fais le point sur 3m, ce qui sera à 4m et 3m sera flou, et ça ne sert à rien de zoomer.
Correction (pas réveillé, moi) :
« Avec le Lumia, si tu as fais le point sur 3m, ce qui sera à 4m et 2m sera flou, et ça ne sert à rien de zoomer. »
Drôle de pseudo pour un pas réveillé !
En même temps, y’a pas de caféine dans le Benco
Est ce le benco que je connais ???
Bah je sais pas… On se connaîtrait d’où ?