
Un brevet déposé par Apple laisse envisager une future fonctionnalité très utile pour l’Apple Watch. En cas d’accident ou de problème de santé, la montre pourrait automatiquement prévenir les secours.
Dans un futur proche, l’Apple Watch pourrait permettre de sauver des vies. Un brevet déposé par Apple laisse envisager une fonctionnalité déployée en cas d’accident ou de problème de santé.
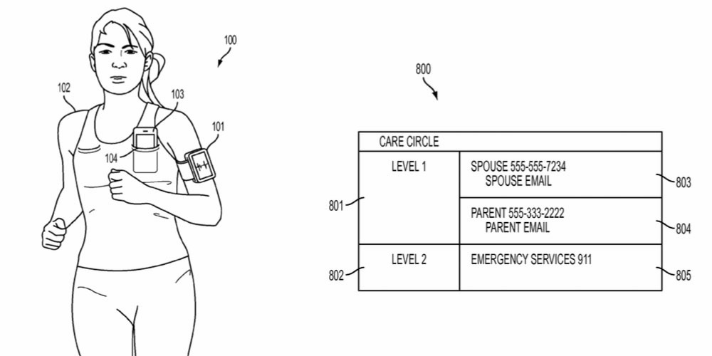
L’Apple Watch à la rescousse

Grâce aux capteurs de données et à l’accéléromètre, la montre pommée pourrait détecter un accident de voiture, une avalanche, un incendie, une chute, ou encore un attaque cardiaque. Par la suite, l’appareil se chargerait automatiquement de contacter les proches de l’utilisateur, ou directement les secours, en fonction de la gravité.
Que pensez-vous de cette fonctionnalité ?