Close Menu
AppSystemAppSystem
  • Astuces
  • Tutoriels
  • Boutique
    • Coques
      • iPhone 16
      • iPhone 15
      • iPhone 14
      • iPhone 13
      • iPhone 12
      • iPhone 11
      • iPhone XR
      • iPhone X(S)
      • iPhone SE
      • iPhone 8
    • Verres trempés
      • iPhone 16
      • iPhone 15
      • iPhone 14
      • iPhone 13
      • iPhone 12
      • iPhone 11
      • iPhone XR
      • iPhone X(S)
      • iPhone SE
      • iPhone 8
    • Accessoires
  • iPhone 15
  • Jailbreak
  • Bons Plans
  • Fonds d’écran
  • Accessoires
  • À propos
  • Contact
  • Publicité
Facebook X (Twitter)
  • iPhone 15
  • Jailbreak
  • Bons Plans
  • Fonds d’écran
  • Accessoires
Facebook X (Twitter)
AppSystemAppSystem
  • Astuces
  • Tutoriels
  • Boutique
    • Coques
      • iPhone 16
      • iPhone 15
      • iPhone 14
      • iPhone 13
      • iPhone 12
      • iPhone 11
      • iPhone XR
      • iPhone X(S)
      • iPhone SE
      • iPhone 8
    • Verres trempés
      • iPhone 16
      • iPhone 15
      • iPhone 14
      • iPhone 13
      • iPhone 12
      • iPhone 11
      • iPhone XR
      • iPhone X(S)
      • iPhone SE
      • iPhone 8
    • Accessoires
AppSystemAppSystem
Mac

Brevet : un clavier anti-poussière et miettes sur les MacBook ?

Mehdi ZidourBy Mehdi Zidour12 mars 2018Updated:12 mars 2018Un commentaire1 Min Read
WhatsApp Email Facebook Twitter Pinterest Telegram

MacBook : un clavier anti-poussière

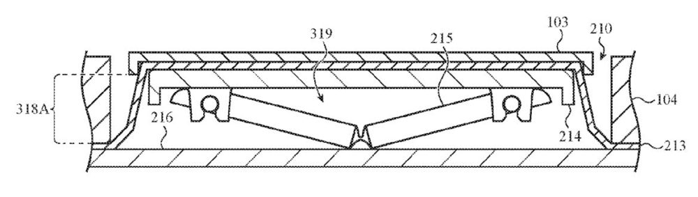
L’un des problèmes majeurs des claviers, quels qu’ils soient, est la facilité d’infiltration des poussières et des miettes entre les touches. Et les MacBook ne dérogent pas à la règle. 

MacBook : un clavier anti-poussière ?

Apple semble penser à une solution afin de contrer ce souci susceptible d’endommager votre ordinateur à terme. Un brevet a été récemment accordé à la firme californienne, lequel décrit un clavier résistant aux poussières et aux miettes. Plus exactement, les touches sont entourées de joints/membranes qui bloquent l’infiltration des impuretés et des particules.

MacBook : un clavier anti-poussière

Un autre système intéressant serait celui d’un soufflet, qui éjecte directement les résidus. Apple a déjà mis en place un tel mécanisme, avec l’Apple Watch Series 2 capable d’éjecter l’eau qui s’infiltre dans la montre.

brevet macbook
Share. Facebook Twitter Pinterest LinkedIn Tumblr Email
Previous ArticleBons plans : les applis gratuites pour iPhone et iPad du 09/03/2018
Next Article Apple change le label des accessoires MFi
Mehdi Zidour
  • Website

Rédacteur en Chef d'AppSystem, passionné de littérature et fan inconditionnel de la Pomme, je gère le site et l'équipe.

Related Posts

Dalles OLED du MacBook Pro : Samsung se préparerait à la production de masse

21 mai 2026

Kansas City Public Schools mise sur Apple et remplace 30 000 PC Windows et Chromebooks

20 mai 2026

Apple rentabilise ses puces « imparfaites » grâce au chip binning, bien au-delà du MacBook Neo

18 mai 2026

Un commentaire

  1. Rey on 12 mars 2018 9 h 51 min

    C’est la series 2 mais bon

    Reply
Leave A Reply Cancel Reply

coque iphone la plus fine du monde

Top 3

iOS 26.5 ajoute un nouveau fond d’écran Pride Luminance sur iPhone, entièrement personnalisable

13 mai 2026

Apple Watch Ultra 4 : quatre pistes crédibles pour la cuvée de septembre

3 avril 2026

Comment écouter la traduction d’une conversation grâce aux AirPods avec iOS 26.2

28 janvier 2026
Suivez-nous
  • Facebook 15K
  • Twitter
Facebook X (Twitter)
  • À propos
  • Contact
  • Publicité

Nos sites : ShopSystem • App4Phone

Copyright © 2026 AppSystem. Publié depuis 2008.

bannière app store

Apple, le logo Apple, iPod, iTunes et Mac sont des marques d’Apple Inc., déposées aux États-Unis et dans d’autres pays. iPhone et MacBook Air sont des marques déposées d’Apple Inc. MobileMe est une marque de service d’Apple Inc. AppSystem.fr et son App ne sont pas liés à Apple et les marques citées sont la propriété de leurs détenteurs respectifs.

Type above and press Enter to search. Press Esc to cancel.